南宁0771sn论坛,桂林夜生活桑拿论坛交流中心,桂林喝茶vx

过负荷?;げ欢系缡北ň迪址椒?/h1>

2023/9/14 3:04:38 人评论 次浏览 分类:电工基础  文章地址:http://www.jczxnmz.cn/tech/5093.html

关于“过负荷?;げ欢系?、只报警”的规定,不同标准有不同要求,主要有以下几个标准规定:
◆《建筑电气及智能化通用规范》GB55024-2022,第4.3.1条,对于因过负荷引起断电而造成更大损失的供电回路,过负荷?;びψ饔糜谛藕疟ň挥η卸系缭?。
《民用建筑电气设计标准》GB51348-2019,第7.6.3条,对于突然断电比过负荷造成损失更大的线路,不应设置过负荷?;ぁ?/span>
《低压配电设计规范》GB50054-2011,第6.3.6条,过负荷断电将引起严重后果的线路,其过负荷?;げ挥η卸舷呗?,可作用于信号。

过负荷?;げ欢系缡北ň迪址椒ㄖ饕幸韵录钢郑?/span>
1、利用断路器
这类产品主要为国产品牌,由于国产品牌对市场反应比较快,根据我国相关设计标准做出相应的产品研发。例如,常熟开关早在2007年就申请了“一种具有热过载报警功能的塑壳断路器”专利,并在CM3等多个产品上应用。当然,智能断路器可以实现这个功能!

2、利用CPS

CPS主要用于?;さ缍虼硕杂谛枰槐ň欢系绲牡缍刂苹芈房梢圆捎谜饫嗖?,以满足标准的规定。这类产品包括中凯的KB0、江苏远泰、泰永长征、常熟开关等企业。

3、利用热继电器

对于电动机回路采用此方法没有问题,但对于配电回路是没有办法的办法,现在已有其他解决方案,因此配电回路不建议采用此方案。
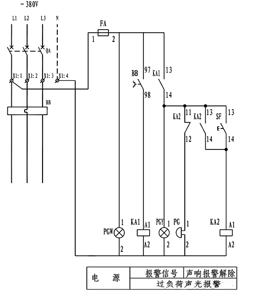
只有瞬动?;さ亩下菲饔肴燃痰缙髯楹希燃痰缙髦槐ň?。

利用热继电器实现过负荷保护不断电时报警

4、利用多功能电力仪表

多功能电力仪表具有电流测量功能,当发生过负荷时,由其干接点提供报警信号。采用瞬动?;さ亩下菲饔攵喙δ芤潜碜楹稀?/span>

5、利用专用的保护装置

这类专用装置是从多功能仪表发展而来,工程应用不是很普遍,但可以作为一个方法。

只有瞬动?;さ亩下菲饔胱ㄓ玫墓汉杀;ぷ爸米楹?,过负荷保护装置只报警

只有瞬动?;さ亩下菲饔胱ㄓ玫墓汉杀;ぷ爸米楹?,过负荷?;ぷ爸弥槐ň?/span>

综上所述,过负荷?;げ欢系缡北ň卸嘀质迪址绞剑没Э筛菪枰侠硌≡袷褂檬室说姆椒?。

作者:李炳华


共有访客发表了评论 网友评论

  客户姓名:
邮箱或QQ:
验证码: 看不清楚?